

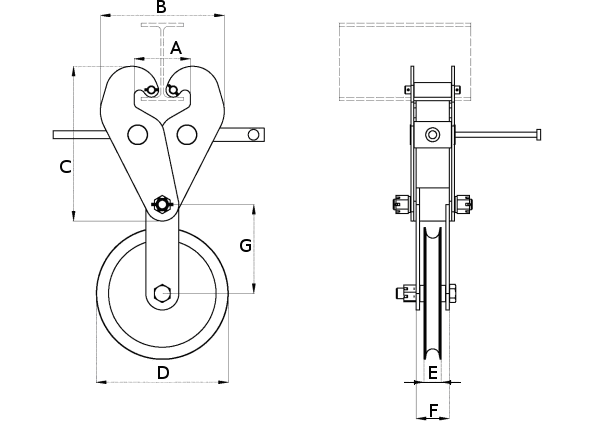
| Typ | WLL w kg | A mm |
B mm |
C mm |
D mm |
E mm |
F mm |
G mm |
Lina fi mm |
Waga kg |
| UK - L 0,5 | 500 | 85-220 | 180-330 |
230 | 85 |
21 |
50 | 120 | 6 | 6,00 |
| UK - L 1 |
1000 | 85-240 | 186-334 | 235 | 125 | 30 | 50 | 130 | 10 | 8,00 |
| UK - L 2 |
2000 | 85-240 | 220-334 | 238 | 180 | 38 | 60 | 200 |
13 | 13,00 |
W zamówieniu podać typ.
Uchwyt spełnia wymagania normy PN–84/M-06521 w zakresie projektowania oraz normy PN-89/M84702 ogólne badania a także PN-EN 13155 i Dyrektywy Maszynowej 2006/42/WE.
Zdjęcia:

Uchwyt Typ UK-L 2 DOR-2000kg.





