![]() |
![]() |
|
||||||||||||||||||||||||||||||||||||
TRAWERSA SPEŁNIA WYMAGANIA NORMY PN-84/M-06521 W ZAKRESIE PROJEKTOWANIA ORAZ NORMY PN-89/M84702 OGÓLNE BADANIA
A TAKŻE PN- EN - 13155 I DYREKTYWY MASZYNOWEJ 2006/42/WE.
Zdjęcia:
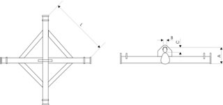
Trawersa krzyzakowa do transportu BIG-BAGÓW. Typ TBB-3 DOR-3t. Wyposażona dodatkowo w haki obrotowe umożliwiające pełne jej wykorzystanie. Trawersa przedstawiona na zdjęciu jest zawieszona na przedłużanym uchwycie UW-3 DOR-3t, które stanowią komplet do współpracy z wózkiem widłowym.
Trawersa pokazana na zdjęciu wykonanie specjalne , punkt podwieszenia do haka obniżony a punkty podwieszenia Big - Baga do trawersy podniesione w stosunku do haka. Wykonanie to pozwala na maksymalne wykorzystanie wysokości podnoszenia.







