32 274-25-17
32 273-91-29

41-800 ZABRZE
ul. Mikulczycka 21 B
k
o
n
t
a
k
t
Szybki kontakt:

tel. 32 2742517

Osoba kontaktowa
Telefon
E-mail
Treść zapytania
Jesteśmy producentem! Możemy wprowadzić zmiany do produktu zgodnie z wymaganiami. W tym celu skontaktuj się z nami: »

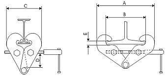
Uchwyt klamrowy typ UK

Specyfika tego prduktu wymaga, aby jego cena była ustalana indywidualnie w zależności od potrzeb Zamawiającego. Prosimy o kontakt celem przedstawienia ceny.
Szybki kontakt: tel. 32 2742517

Przeznaczony jest do szybkiego mocowania wciągników, zbloczy na konstrukcji stalowej. Prosty w zastosowaniu, doskonale nadaje się do prac montażowych.

UCHWYT KLAMROWY  TYP - UK UCHWYT KLAMROWY  TYP - UK
Typ Udźwig
kg
B
mm
A
mm
C
mm
D
mm
E
mm
F
mm
G
mm
Waga
kg
UK - 1 1000 85-240 334 186 90 23 20 120 3,9
UK - 2 2000 85-240 340 220 106 23 20 120 4,9
UK - 3 3000 80-320 460 232 131 30 30 174 10,0
UK - 5 5000 90-320 465 240 126 34 35 182 12,8

W zamówieniu podać  Typ.


Zdjęcia:

 

Uchwyt klamrowy Typ UK-5 DOR-5t i zakresie chwytania 90-320mm.
Na naszych stronach internetowych stosujemy pliki cookies. Korzystając z naszych serwisów internetowych bez zmiany ustawień przeglądarki wyrażasz zgodę na stosowanie plików cookies zgodnie z Polityką Prywatności