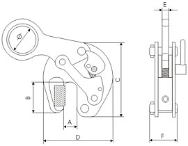
Przeznaczony do przenoszenia kształtowników wyposażony w szczęki ze stali hartowanej. Spełnia wymogi bezpieczeństwa. Stosując 2 uchwyty jednocześnie należy zastosować trawersę. Udźwig podany dla jednej sztuki.
![]() |
![]() |
|
|||||||||||||||||||||||||||||||||||||||||
W zamówieniu należy podać Typ.
Uchwyt spełnia wymagania norm :
-PN-84//M-06521 : w zakresie wytyczne projektowania.
-PN-89/M-89/M-84702 : w zakresie ogólnych badań i wymagań.
-PN-EN-13155 oraz Dyrektywy Maszynowej 2006/42/WE.
Zdjęcia:
![]() |
![]() |
| Uchwyt do transportu kształtowników wyposażony w szczęki zestali hartowanej. Typ UPD-1 DOR-1t i zakresie chwytania 3-20 mm. Wstępny docisk za pomocą rygla |
|
![]() Typ UPD-1 DOR-1t zakres chwytania 0-20mm. |
|










