32 274-25-17
32 273-91-29

41-800 ZABRZE
ul. Mikulczycka 21 B
k
o
n
t
a
k
t
Szybki kontakt:

tel. 32 2742517

Osoba kontaktowa
Telefon
E-mail
Treść zapytania
Jesteśmy producentem! Możemy wprowadzić zmiany do produktu zgodnie z wymaganiami. W tym celu skontaktuj się z nami: »

Typ UBX

Specyfika tego prduktu wymaga, aby jego cena była ustalana indywidualnie w zależności od potrzeb Zamawiającego. Prosimy o kontakt celem przedstawienia ceny.
Szybki kontakt: tel. 32 2742517

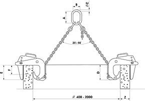
Uchwyt UBX przeznaczony jest do podnoszenia i transportu pionowego kręgów betonowych. Udźwig podany jest dla 1 szt. Komplet stanowią trzy uchwyty współpracujące z zawiesiem łańcuchowym.

UCHWYT DO PODNOSZENIA KRĘGÓW BETONOWYCH TYP UB UCHWYT DO PODNOSZENIA KRĘGÓW BETONOWYCH TYP UB - WYMIAR
TYP DOR 
 kg
Zakres Z
mm
E
mm
F
mm
A
mm
B
mm
C
mm
D
mm
Waga
kg
UBX 0,5 500 40 – 120 165 100 135 75 18 180 10
UBX 1 1000 50 – 180 175 175 180 100 26 310 18
UBX 1 1000 90 – 220 175 175 180 100 26 310 24

W zamówieniu należy podać Typ.


 

Zdjęcia:


Uchwyt do podnoszenia kręgów betonowych typ UBX 1,0t 50-180mm
(w komplecie na kręgu)

 

Na naszych stronach internetowych stosujemy pliki cookies. Korzystając z naszych serwisów internetowych bez zmiany ustawień przeglądarki wyrażasz zgodę na stosowanie plików cookies zgodnie z Polityką Prywatności