32 274-25-17
32 273-91-29

41-800 ZABRZE
ul. Mikulczycka 21 B
k
o
n
t
a
k
t
Szybki kontakt:

tel. 32 2742517

Osoba kontaktowa
Telefon
E-mail
Treść zapytania
Jesteśmy producentem! Możemy wprowadzić zmiany do produktu zgodnie z wymaganiami. W tym celu skontaktuj się z nami: »

W pozycji pionowej typ BP

Specyfika tego prduktu wymaga, aby jego cena była ustalana indywidualnie w zależności od potrzeb Zamawiającego. Prosimy o kontakt celem przedstawienia ceny.
Szybki kontakt: tel. 32 2742517

Przeznaczony do pionowego transportu beczek. Prosty w zastosowaniu i obsłudze.

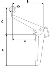
UCHWYT DO BECZEK W POZYCJI PIONOWEJ TYP - BP UCHWYT DO BECZEK W POZYCJI PIONOWEJ TYP - BP - WYMIAR
TYP UDŹWIG
kg
B
mm
C
mm
D
mm
A
mm
Ø
mm
WAGA
kg
BP – 0,5 500 476 336 470 297 50 7,8

W zamówieniu należy podać Typ.


 

Zdjęcia:

Zdjęcie przedstawia uchwyt do transportu beczek Typ BP oraz sposób jego mocowania na beczkach. Uchwyt zamocowany na uchwycie widłowym Typ UW-1.
Na naszych stronach internetowych stosujemy pliki cookies. Korzystając z naszych serwisów internetowych bez zmiany ustawień przeglądarki wyrażasz zgodę na stosowanie plików cookies zgodnie z Polityką Prywatności